全国2008年4月高等教育自学考试计算机组成原理试
编辑整理:陕西自考网 发表时间:2018-05-24 06:23:35 字体大小:【大 中 小】
【添加招生老师微信】
《自考视频课程》名师讲解,轻松易懂,助您轻松上岸!低至199元/科!
全国2008年4月高等教育自学考试
计算机组成原理试题
课程代码:02318
一、单项选择题(本大题共20小题,每小题2分,共40分)
在下列每小题的四个备选答案中选出一个正确答案,并将其字母标号填入题干的括号内.错选、多选或未选均无分.
1.若真值X=-1011,则
=( )
A.1.0101
B.10101
C.1.0100
D.10100
2.设十六进制数为A3.5,则相应的十进制数为( )
A.172.5
B.179.3125
C.163.3125
D.188.5
3.补码加减运算是指( )
A.操作数用补码表示,符号位单独处理
B.操作数用补码表示,连同符号位一起相加
C.操作数用补码表示,将加数变补,然后相加
D.操作数用补码表示,将被加数变补,然后相加
4.定点小数的补码表示范围是( )
A.-1<x<1
B.-1<x≤1
C.-1≤x<1
D.-1≤x≤1
5.中央处理器包含( )
A.运算器和主存储器
B.控制器和主存储器
C.运算器和控制器
D.运算器和输入输出接口
6.要访问容量为32KB的主存储器,至少需要二进制数地址( )
A.13位
B.14位
C.15位
D.16位
7.动态RAM的特点是( )
A.工作中存储内容会产生变化
B.工作中需要动态地改变访存地址
C.每次读出后,需根据原存内容重写一次
D.每隔一定时间,需要根据原存内容重写一遍
8.下列存储器中可在线改写的只读存储器是( )
A.EEPROM
B.EPROM
C.ROM
D.RAM
9.在计算机的层次化存储器结构中,虚拟存储器是指( )
A.将主存储器当作高速缓存使用
B.将高速缓存当作主存储器使用
C.将辅助存储器当作主存储器使用
D.将主存储器当作辅助存储器使用
10.单地址指令( )
A.只能对单操作数进行加工处理
B.只能对双操作数进行加工处理
C.既能对单操作数进行加工处理,也能对双操作数进行运算
D.无处理双操作数的功能
11.堆栈指针SP的内容是( )
A.栈顶地址
B.栈顶内容
C.栈底地址
D.栈底内容
12.在同步控制方式中( )
A.各指令的执行时间相同
B.各指令占用的机器周期数相同
C.由统一的时序信号进行定时控制
D. CPU必须采用微程序控制方式
13.CPU响应DMA请求的时间是( )
A.必须在一条指令执行完毕
B.必须在一个总线周期结束
C.可在任一时钟周期结束
D.在判明设有中断请求之后
14.在微程序控制中,机器指令和微指令的关系是( )
A.每一条机器指令由一条微指令来解释执行
B.每一条机器指令由一段微程序来解释执行
C.一段机器指令组成的工作程序,可由一条微指令来解释执行
D.一条微指令由若干条机器指令组成
15.微程序存放在( )
A.主存中
B.堆栈中
C.CPU中
D.磁盘中
16.下列设备中,适合通过DMA方式与主机进行信息交换的是( )
A.键盘
B.电传输入机
C.针式打印机
D.磁盘
17.串行接口是指( )
A.接口与系统总线之间采取串行传送
B.接口与外围设备之间采取串行传送
C.接口的两侧采取串行传送
D.接口内部只能串行传送
18.向量中断的向量地址是( )
A.通过软件查询产生
B.由中断服务程序统一产生
C.由中断源硬件提供
D.由处理程序直接查表获得
19.中断屏蔽字的作用是( )
A.暂停外设对主存的访问
B.暂停对某些中断的响应
C.暂停对一切中断的响应
D.暂停CPU对主存的访问
20.在调相制记录方式中( )
A.相邻位单元交界处必须变换磁化电流方向
B.相邻位单元交界处,电流方向不变
C.当相邻两位数值相同时,交界处变换电流方向
D.当相邻两位数值不同时,交界外变换电流方向
二、名词解释题(本大题共3小题,每小题3分,共9分)
21.微程序
22.主设备
23.中断嵌套
三、简答题(本大题共5小题,每小题4分,共20分)
24.高速缓存Cache用来存放什么内容?设置它的主要目的是什么?
25.什么是堆栈?说明堆栈指针SP的作用.
26.简述微程序控制方式的基本思想.它有什么优点和缺点?
27.什么是中断?请说明它的特点和适用场合.
28.什么是串行总线?什么是并行总线?试比较它们的应用场合.
四、简单应用题(本大题共2小题,每小题9分,共18分)
29.用Booth算法计算-4×3的4位补码乘法运算,要求写出每一步运算过程及运算结果.
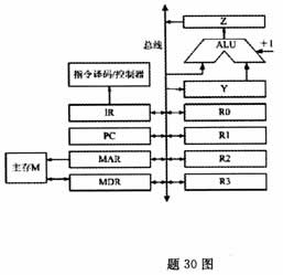
30.设有单总线CPU的计算机结构如图所示.试写出指令ADD(R1),R0的执行流程.其中,(R1)表示寄存器间接寻址,R0表示寄存器寻址,指令功能为加法.

五、设计题(本大题共1小题,13分)
31.用512×4位/片的存储芯片构成2KB存储器,地址线
(低),数据线为
,读写控制信号为
,访存请求信号为
,存储器芯片控制信号有
.请回答:①加至各芯片的地址线是哪几位?②分别写出四个片选信号的逻辑式.③画出存储器逻辑图(芯片级).
本文标签:陕西自考工学类全国2008年4月高等教育自学考试计算机组成原理试
转载请注明:文章转载自(http://www.sxzk.sx.cn)

《陕西自考网》免责声明:
1、由于各方面情况的调整与变化,本网提供的考试信息仅供参考,考试信息以省考试院及院校官方发布的信息为准。
2、本网信息来源为其他媒体的稿件转载,免费转载出于非商业性学习目的,版权归原作者所有,如有内容与版权问题等请与本站联系。联系邮箱:812379481@qq.com。





